Товар добавлен в корзину

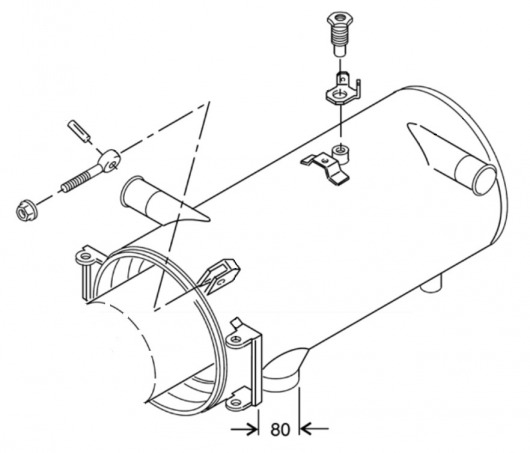
Теплообменник DBW 300 Webasto (395749Z)

0
Артикул: 19890
Производитель: WEBASTO

Модель: 395749Z

50 742 P
Товар добавлен в корзину
Перейти в корзину
Гарантии:
100% возврат средств в случае утери отправления
Подробнее
Возврат:
До 30 дней на обмен или возврат товара
Подробнее
+7 Купить в один клик
Вы принимаете соглашение о обработке данных.
Поделиться:

Описание

Теплообменник DBW 300 (арт. 395749Z) – это оригинальная запчасть Webasto, которая предназначена для обогревателей Вебасто. Теплообменник DBW 300 подходит подогревателям двигателя, которые устанавливаются на коммерческие автомобили. 

В нашем интернет-магазине вы найдете все нужные вам запчасти Вебасто для ремонта предпускового подогревателя. Выбрать необходимые комплектующие вы можете в каталоге Webasto или позвонив по телефону +7 (495) 660-37-14. Наши специалисты обязательно найдут деталь, которая вам нужна!

Бренд: Все товары бренда WEBASTO
Категория: Все Вебасто (webasto)
Подкатегория: Запчасти для Webasto
тест

Где купить?

Пункты самовывоза

620050 Екатеринбург, улица Монтажников, дом 26А
Пн-Пт: 09:00 - 19:30;
Сб,Вс: 09:00 - 18:00
620062 Екатеринбург, пр-кт Ленина, дом 101
Пн,Вт,Ср,Чт,Сб,Вс: 10:00 - 21:00;
Пт: 10:00 - 19:00
620107 Екатеринбург, ул Героев России, дом 2
Пн-Пт: 10:00 - 20:00;
Сб: 12:00 - 16:00;
Вс: выходной
620144 Екатеринбург, ул Декабристов, дом 75
Пн-Сб: 09:00 - 19:00;
Вс: выходной
620085 Екатеринбург, ул Агрономическая, дом 33
Пн-Пт: 10:00 - 19:30;
Сб: 10:00 - 16:00;
Вс: выходной
620130 Екатеринбург, ул Белинского, дом 222
Пн-Вс: 10:00 - 20:00
620137 Екатеринбург, ул Уральская, дом 75
Пн-Вс: 10:00 - 20:00

Магазины

Екатеринбург, Металлургов 70
Мы не гарантируем наличие полного ассортимента в магазине. Магазин не является пунктом самовывоза.

Нам доверяют 160401 покупателей

Посмотреть все отзывы

Вопросы и отзывы про Теплообменник DBW 300 Webasto (395749Z)


Напишите Ваш вопрос или отзыв

Оценка:
 
Как писать?
Опишите ваши впечатления от модели.
Почему вы купили эту модель?
Что вам особенно нравится в этой модели?
Что не нравится?

Пишите ТОЛЬКО о модели.
Приводите точные факты.
Не копируйте чужие отзывы.
Не используйте ненормативную лексику.
Пишите как можно более полно.

Перед публикацией все отзывы проверяются администратором. Отзывы без достоверной информации, без конкретики или содержащие ненормативную лексику не принимаются.
Похожие товары
Товар добавлен в корзину
Мебельный магазин: купить барную стойку на кухню - Переходи на сайт! - Магазин бытовой техники: морозильный ларь pozis fh-258-1 - переходи на сайт ТАЙМТВ! - Магазин бытовой техники: крупная техника для кухни холодильник - переходи на сайт ТАЙМТВ! - лента rss битрикс24 экспорт - бинокуляры
или выберите из списка:
Вход
Для входа или регистрации введите номер мобильного телефона.
+7
В формате: (XXX) YYY YY YY


Закажите обратный звонок
Оставьте Ваш контактный телефон, наш менеджер свяжется с Вами в ближайшее время.
+7
В формате: (XXX) YYY YY YY
Способы оплаты: